




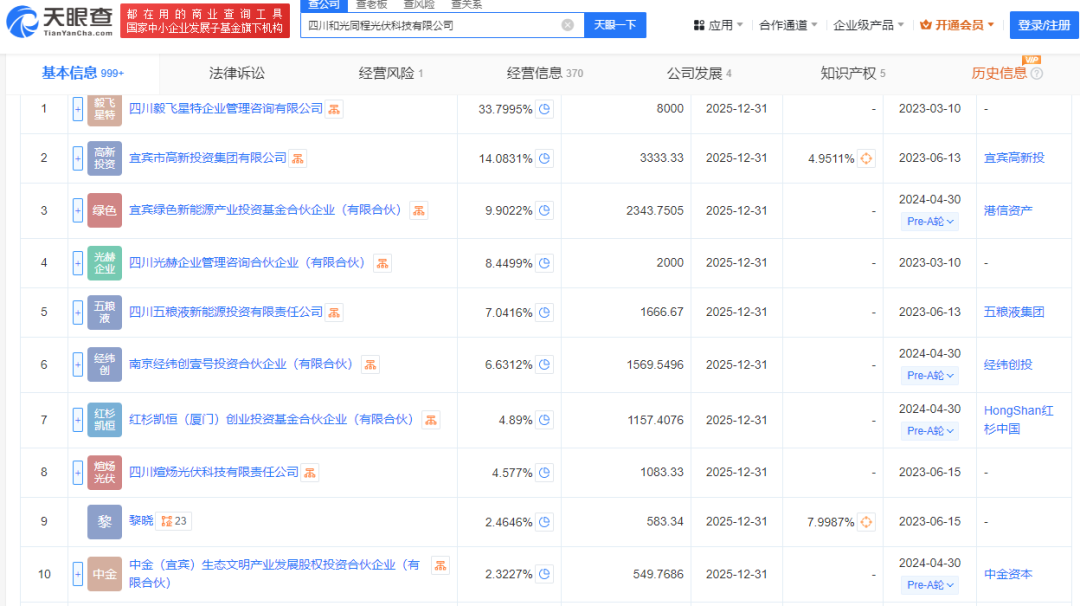
五粮液在光伏领域布局又有了新进展! 近日,宜宾英发德睿科技有限公司正式成立,注册资本高达10亿元,法定代表人为张发玉。该公司经营范围涵盖光伏设备及元器件制造、太阳能热利用装备销售、电子专用材料研发与制造等领域。 据天眼查显示,该公司有四大股东,分别是宜宾英发德耀科技有限公司、四川五粮液新能源投资有限责任公司、隆基乐叶光伏科技有限公司以及地方国企宜宾市高新投资集团有限公司。 值得一提的是,2023年6月,五粮液集团通过旗下四川五粮液新能源投资有限责任公司入股四川和光同程光伏科技有限公司(以下简称“和光同程”),开启跨界光伏新征程。 资料显示,和光同程成立于2023年,是一家位于四川宜宾的光伏行业电池研发制造商,主营电池制造、太阳能发电技术服务、光伏设备及元器件制造等。其第一大股东四川毅飞星特企业管理咨询有限公司的唯一股东是谢毅,与此同时,谢毅还持有四川光赫企业管理咨询合伙企业(有限合伙)27.5%的股份。谢毅出生于1984年,曾任通威集团总裁助理、通威太阳能(合肥)有限公司董事长、通威太阳能(成都)有限公司董事长等。 
